


TGL型尼龍內齒圈鼓形齒式聯(lián)軸器為國標型號,我廠生產的另一種尼龍內齒圈聯(lián)軸器為NL型尼龍內齒圈鼓形齒式聯(lián)軸器.
● 尼龍內齒圈齒聯(lián)軸器其內齒圈材料采用MC尼龍材料,外齒軸套采用45號鍛鋼,具有尺寸小、重量輕、轉動慣量小、噪音小、裝拆方便、不用潤滑等優(yōu)點,可應用于中小轉矩的工況環(huán)境,例如風機、水泵、潤滑泵、紡織機械等。
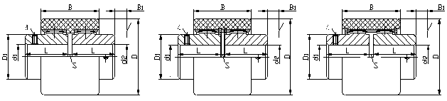
●TGL型鼓形齒尼龍齒圈聯(lián)軸器有以下三種結構型式:
A---型基本型: B---型內擋圈型: C---型外擋圈
型

|
型號
|
公稱轉矩 Tn /N·m
|
許可轉速[n] /r·min-1
|
軸孔直徑 d1、d2
|
軸孔長度 L J1
|
D
|
D1
|
B
|
B1
|
S
|
d
|
質量m/kg
|
轉動慣量I
/kg·m2 |
|||||
|
A型
B型 |
C型
|
A型
B型 |
C型
|
A型
B型 |
C型
|
A型
B型 |
C型
|
A型
B型 |
C型
|
||||||||
|
TGLA1
TGLB1 |
10
|
10000
|
6、7
|
16
|
40
|
-
|
25
|
38
|
-
|
17
|
-
|
4
|
-
|
0.2
|
-
|
0.00003
|
-
|
|
8、9
|
20
|
M5
|
|||||||||||||||
|
10、11
|
22
|
||||||||||||||||
|
12、14
|
27
|
||||||||||||||||
|
TGLA2
TGLB2 |
16
|
9000
|
8、9
|
20
|
48
|
-
|
32
|
38
|
-
|
17
|
-
|
4
|
M5
|
0.278
|
-
|
0.00006
|
-
|
|
10、11
|
22
|
||||||||||||||||
|
12、14
|
27
|
||||||||||||||||
|
16、18、19
|
30
|
||||||||||||||||
|
TGLA3
TGLB3 TGLC3 |
31.5
|
8500
|
10、11
|
22
|
56
|
58
|
36
|
42
|
52
|
19
|
-
|
4
|
M5
|
0.482
|
0.533
|
0.00012
|
0.00015
|
|
12、14
|
27
|
24
|
|||||||||||||||
|
16、18、19
|
30
|
||||||||||||||||
|
20、22、24
|
38
|
||||||||||||||||
|
TGLA4
TGLB4 TGLC4 |
45
|
8000
|
12、14
|
27
|
66
|
70
|
45
|
46
|
-
|
21
|
26
|
4
|
M8
|
0.815
|
0.869
|
0.00033
|
0.0004
|
|
16、18、19
|
30
|
56
|
|||||||||||||||
|
20、22、24
|
38
|
||||||||||||||||
|
25、28
|
44
|
||||||||||||||||
|
TGLA5
TGLB5 TGLC5 |
63
|
7500
|
14
|
27
|
75
|
85
|
50
|
48
|
-
|
22
|
27
|
4
|
M8
|
1.39
|
1.52
|
0.00072
|
0.00088
|
|
16、18、19
|
30
|
58
|
|||||||||||||||
|
20、22、24
|
38
|
||||||||||||||||
|
25、28
|
44
|
||||||||||||||||
|
30、32
|
60
|
||||||||||||||||
|
TGLA6
TGLB6 TGLC6 |
80
|
6700
|
16、18、19
|
30
|
82
|
90
|
58
|
48
|
58
|
22
|
27
|
4
|
M8
|
2.02
|
2.15
|
0.0012
|
0.0015
|
|
20、22、24
|
38
|
||||||||||||||||
|
25、28
|
44
|
||||||||||||||||
|
30、32、35、38
|
60
|
||||||||||||||||
|
TGLA7
TGLB7 TGLC7 |
100
|
6000
|
20、22、24
|
38
|
92
|
100
|
65
|
50
|
60
|
23
|
28
|
4
|
M8
|
3.01
|
3.14
|
0.0024
|
0.0027
|
|
25、28
|
44
|
||||||||||||||||
|
30、32、35、38
|
60
|
||||||||||||||||
|
40、42
|
84
|
||||||||||||||||
|
TGLA8
TGLB8 TGLC8 |
140
|
5600
|
22、24
|
38
|
100
|
100
|
72
|
50
|
60
|
23
|
28
|
4
|
M8
|
4.06
|
4.18
|
0.0037
|
0.0039
|
|
25、28
|
44
|
||||||||||||||||
|
30、32、35、38
|
60
|
||||||||||||||||
|
40、42、45、48
|
84
|
||||||||||||||||
|
TGLA9
TGLB9 TGLC9 |
355
|
4000
|
25、28
|
44
|
140
|
140
|
96
|
72
|
85
|
34
|
41
|
4
|
M10
|
8.25
|
8.51
|
0.0155
|
0.0166
|
|
30、32、35、38
|
60
|
||||||||||||||||
|
40、42、45、48、50、55、56
|
84
|
||||||||||||||||
|
60、63、65、70
|
107
|
||||||||||||||||
|
TGLA10
TGLB10 TGLC10 |
710
|
3150
|
30、32、35、38
|
60
|
175
|
175
|
128
|
95
|
95
|
45
|
45
|
6
|
M10
|
16.92
|
17.1
|
0.052
|
0.0535
|
|
40、42、45、48、50、55、56
|
84
|
||||||||||||||||
|
60、63、65、70、71、75
|
107
|
||||||||||||||||
|
80、85
|
132
|
||||||||||||||||
